Revox B291

Re: Revox B291

PostPostao/la zbotic » 16 svi 2018, 13:38

U servisnom manualu tj dijelu gdje su "schematics" na strani 6/13 (T.D.: 1.179.350.21) označene su ti točke 1 i 2 na kojima treba prema uputama sa stranice prije imati 200mV sinusni u točki 1, a u točki dva kvadratni signal. Ako toga nema znači da tahogenerator ne funkcionira mehanički ili je nešto u prekidu ispod haube motora. Sve se sada brže vrti, pa je i indukcija drugačija, ali nekakvi naponi bi se trebali mjeriti.
Zadnja izmjena: zbotic; 16 svi 2018, 15:21; ukupno mijenjano 1 put/a.
zbotic
 
Postovi: 2030
Pridružen/a: 04 svi 2011, 07:14

Re: Revox B291

PostPostao/la zbotic » 16 svi 2018, 14:14

Shema je kretenski nacrtana, ali na stranama 6/13 i 6/20 ti je sve što je vezano uz vrtnju motora, pogon, tacho, nekakvi hall senzori i bogtepita što još.......

Trba čekirati sve napone sa 6/13 stranice, sve spojeve, itd.....

Možda je ta žica koju si našao neko strano tijelo u gramofonu i bilo je dovoljno da tuda malo prošeta i otkine koju žičicu.....
Zadnja izmjena: zbotic; 16 svi 2018, 15:24; ukupno mijenjano 1 put/a.
zbotic
 
Postovi: 2030
Pridružen/a: 04 svi 2011, 07:14

Re: Revox B291

PostPostao/la zbotic » 16 svi 2018, 14:37

Najviše me čudi to što ipak vrti i to u pogrešnu stranu. Da si zaokrenuo konektor motora (ako je to uopće moguće) onda vjerojatno ne bi vrtio nikako.
U točkama 6 možeš sa dvije sonde i dual ch osciloskopom provjeriti imaš li dvije sinusoide 2V fazno pomaknute, ali da to nije tako vjerojatno opet ne bi vrtio........
Zapravo samo izmjeri ACmetrom imaš li uopće dvije sinusoide.

Dakle, po meni, ostaje početna pretpostavka, tahogenerator.....
zbotic
 
Postovi: 2030
Pridružen/a: 04 svi 2011, 07:14

Re: Revox B291

PostPostao/la elvis » 16 svi 2018, 16:16

zbotic je napisao/la:Najviše me čudi to što ipak vrti i to u pogrešnu stranu. Da si zaokrenuo konektor motora (ako je to uopće moguće) onda vjerojatno ne bi vrtio nikako.
U točkama 6 možeš sa dvije sonde i dual ch osciloskopom provjeriti imaš li dvije sinusoide 2V fazno pomaknute, ali da to nije tako vjerojatno opet ne bi vrtio........
Zapravo samo izmjeri ACmetrom imaš li uopće dvije sinusoide.

Dakle, po meni, ostaje početna pretpostavka, tahogenerator.....


Hm, da li postoji dijagnostika tahogeneratora ? Ako stignem do radionice, probati ću rastaviti motor. No što kada ga rastavim ? :)

Naravno prije toga ću probati potvrditi 2V/dvije sinusoide.
Avatar
elvis
 
Postovi: 1484
Pridružen/a: 04 svi 2011, 14:38

Re: Revox B291

PostPostao/la zbotic » 16 svi 2018, 20:06

Tahogenerator proizvodi onih 200mV sinusoide. U ovom slučaju to je generator koji u one zubce na PCB-u magnetom na poklopcu motora inducira napon određene frekvencije. S time se regulira vrtnja motora. Motor i tahogenerator su preko elektronike u ravnoteži i niti jedan od njih ne mijenja u ispravnom stanju broj okretaja.
zbotic
 
Postovi: 2030
Pridružen/a: 04 svi 2011, 07:14

Re: Revox B291

PostPostao/la elvis » 17 svi 2018, 16:11

zbotic je napisao/la:Najviše me čudi to što ipak vrti i to u pogrešnu stranu. Da si zaokrenuo konektor motora (ako je to uopće moguće) onda vjerojatno ne bi vrtio nikako.
U točkama 6 možeš sa dvije sonde i dual ch osciloskopom provjeriti imaš li dvije sinusoide 2V fazno pomaknute, ali da to nije tako vjerojatno opet ne bi vrtio........
Zapravo samo izmjeri ACmetrom imaš li uopće dvije sinusoide.

Dakle, po meni, ostaje početna pretpostavka, tahogenerator.....


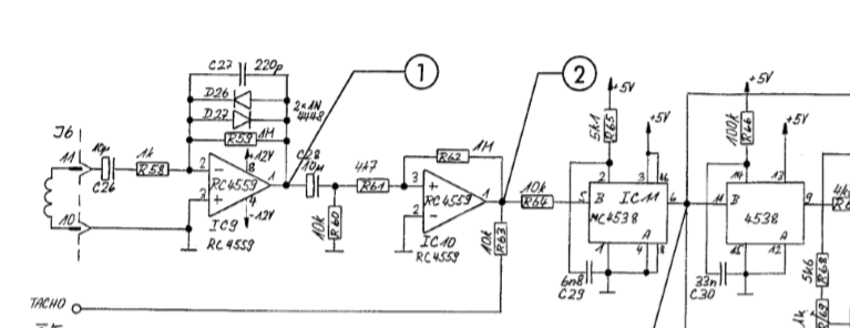
Na matičnoj ploči ima ukupno 5 chipova (opampova) sa oznakom RC4559, pa sistemom eleminacije temeljem okolnih pasivnih komponenti došao sam do ciljana dva chipa, označena na slici dole. E sada hebeliga, umjesto 200mV na prvom očitah više od 450mV, a na drugom umjesto 2V imam 12V. Ovo uzeti sa rezervom, danas ću sve ponovno premjeriti.

Brine me činjenica da je komad izvađen iz motora mogao napraviti kratke spojeve jer je bio blizu pinova skupine kablova koji dolaze sa matične ploče, ukupno njih 10, tako da je šteta na matičnoj ploči potencijalno golema. A šteta ako je tako...
Privitak/ci
IMG_2154.jpg
IMG_2154.jpg (149.72 KiB) Pogledano 15776 put/a.
revox1.png
revox1.png (75.86 KiB) Pogledano 15776 put/a.
rev 2.PNG
rev 2.PNG (76.08 KiB) Pogledano 15776 put/a.
Avatar
elvis
 
Postovi: 1484
Pridružen/a: 04 svi 2011, 14:38

Re: Revox B291

PostPostao/la zbotic » 18 svi 2018, 07:20

12V na opampu asocira da je jedna grana napajanja otišla ili je nešto u prekidu ili je by by.
U svakom slučaju čeka te rudarski rad na traženju kvara.....

Ovih 450mV ukazuje da je dio tahogeneratora koji je ispod haube motora vjerojatno OK tako da ga možda ni ne treba otvarati
zbotic
 
Postovi: 2030
Pridružen/a: 04 svi 2011, 07:14

Re: Revox B291

PostPostao/la elvis » 18 svi 2018, 11:02

zbotic je napisao/la:12V na opampu asocira da je jedna grana napajanja otišla ili je nešto u prekidu ili je by by.
U svakom slučaju čeka te rudarski rad na traženju kvara.....

Ovih 450mV ukazuje da je dio tahogeneratora koji je ispod haube motora vjerojatno OK tako da ga možda ni ne treba otvarati


Provjerio sinoć, mogu potvrditi da je zaista na mjernoj točki 2 gotovo 12V, no na osciloskopu oblik odgovara očekivanom, ali na žalost u voltima 6x više

Situacija je znači ovakva:

svi.jpg
svi.jpg (71.92 KiB) Pogledano 15452 put/a.


Sve do pete mjerne točke je recimo OK, malo ovo OK treba uzeti sa rezervom jer naponi baš i nisu onakvi kako je navedeno, a malo me je i vrijeme u ms zezalo.

1.jpg
1.jpg (34.31 KiB) Pogledano 15452 put/a.
2.jpg
2.jpg (26.92 KiB) Pogledano 15452 put/a.
3.jpg
3.jpg (26.92 KiB) Pogledano 15452 put/a.
4.JPG
4.JPG (30.78 KiB) Pogledano 15452 put/a.


Onda ovaj ne štima nikako:
5.jpg
5.jpg (30.35 KiB) Pogledano 15452 put/a.


Drugim riječima na IC12 je problem, vjerojatno uzrokovan problemom na IC10 i neobično višim naponom od očekivanog.
Avatar
elvis
 
Postovi: 1484
Pridružen/a: 04 svi 2011, 14:38

Re: Revox B291

PostPostao/la zbotic » 18 svi 2018, 11:40

Hm ne znam, ovo je malo preteško. "Tout" dolazi sa mikroprocesora........

Ja bih pogledao i ove +-5V napone jer oni stalno negdje po čipovima reguliraju simetriju....
zbotic
 
Postovi: 2030
Pridružen/a: 04 svi 2011, 07:14

Re: Revox B291

PostPostao/la elvis » 20 svi 2018, 22:32

zbotic je napisao/la:Hm ne znam, ovo je malo preteško. "Tout" dolazi sa mikroprocesora........

Ja bih pogledao i ove +-5V napone jer oni stalno negdje po čipovima reguliraju simetriju....


Pregledao sam sva napajanja IC-a i sve je OK. Drugim riječima mislim da je revox odvrtio svoje. A što je tu je. Šteta, lip je to dokument vremena. Ja nisam neki vinildžija, draže su mi jedinice i nule, no srce uvijek zaigra pokraj grebalice, genetski uzrokovano vjerojatno!

Sklapam ga i ide na B policu. To je ona polica pred čistilištem, od milja je zovem "kontejnerka", malo se što sa nje vratilo u život. :(
Avatar
elvis
 
Postovi: 1484
Pridružen/a: 04 svi 2011, 14:38

PrethodnaSljedeća

Natrag na Analogni izvori zvuka

Na mreži

Trenutno korisnika/ca: / i 1 gost.

cron